在线咨询
18919605935
3289494560
咨询电话
微信扫一扫
展服务品质 树行业典范 显社会责任
2020-02-03 阅读次数: 13522
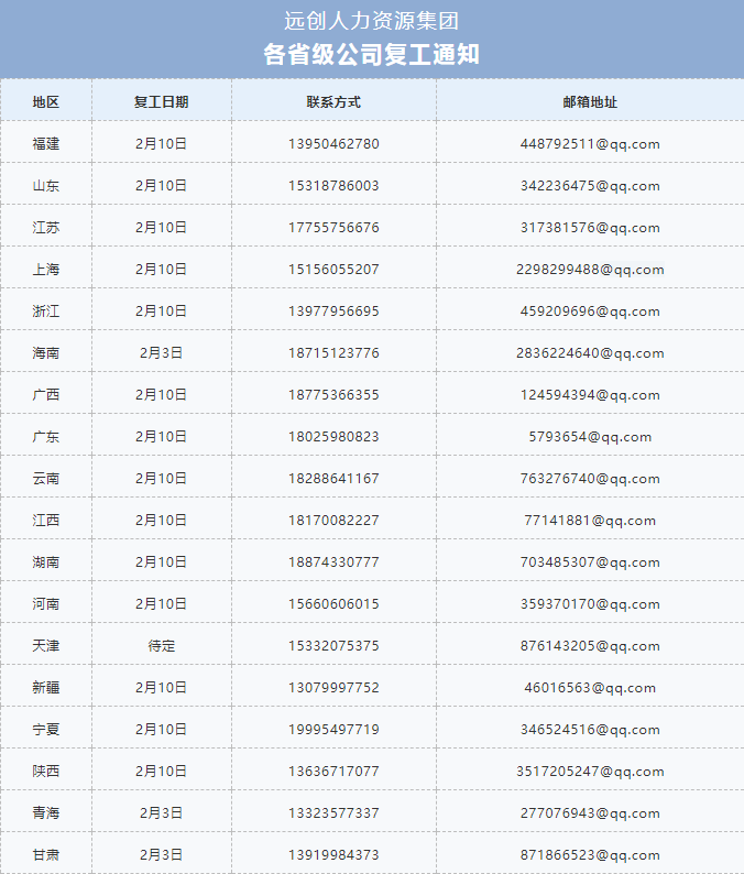
为贯彻中央政府对于防控新型冠状病毒肺炎疫情的措施,依照各地方政府关于2020年农历春节后复工的要求,并且在这基础上尽最大努力保证客户服务工作正常进行,集团各省级公司复工时间如下:
在延迟复工期间, 全国省级公司小伙伴提供在线服务,以确保客户服务工作正常有序进行。如有任何问题,可及时与相关人员联系。
全国服务热线:400-800-7668
多谢您的理解以及一如既往的支持!
关于举办2019年合肥市社保稽核公益培训的通知|
远创人力资源集团2019团建之旅—无锡游记|
【远创党建】集团党支部“八一”集体观影活动——走近烈火英雄 致敬消防官兵|